°ò¥»¶q«×³æ¦ì
¤uµ{¤u§@³£²o¯A¨ì«×¶q¿Åªº³B²z¡A§Y¬Oªøµu¡B±¿n¡B®e¿n©M»´«ªºpºâ¡C
¦b»´ä³B²z¤uµ{¡A¥Îªº¬O°ê»Ú³æ¦ì¡C³o¬O¥@¬É³Ì³q¥Îªº¼Ð·Ç¡A³oÓ¨t²Î³q±`¥Îªk¤å²¼gSI§@¥N¸¹¡C §Ų́ϥÎSI¨t²Îªºmetre(¦Ì©Î¤½¤Ø)¨Ó¶q«×ªø«×¡B¥ÎKilogramme(¤d§J©Î¤½¤ç)¨Ó¶q«×»´«¡A¤½¤Ø©M¤½¤ç³£¬OSI¨t²Îªº°ò¥»³æ¦ì¡C
¡@
ªø«×ªº¶q«×
¤jªº¤Ø¤o¡A¨Ò¦p©Ð¶¡ªº¤j¤p©Î¬O¼Ó¼hªº°ª«×¡A¥Î¤½¤Ø¶q«×³Ì¬O¾A©y¡C¤Hªº°ª«×¬O¨â¤½¤Ø¥ª¥k¡B¤p«Ä«h¤p©ó¤@¤½¤Ø¡C³q±`¥Îm¥Nªí¤½¤Ø¡A¤@¤½¤Ø¼g¦¨1m¡A¤@¤½¤Ø¥b«h¼g¦¨1.5m¡A·íµMÁÙ¦³1.34m¡B15.2m¡B104.33mµ¥¼gªk¡C
¦¨¦ç·~¬°¤F¤è«K¡A¦b¦¨¦çªº¼ÐÅҥΦʤÀ¤§¤@¤½¤Ø°µ³æ¦ì¨Ó¼Ð»x¸Ó¦¨¦ç°t¦Xªº¨§÷¡C¦Ê¤À¤§¤@¤½¤Ø¤SºÙÍù¦Ì¡A¼gªk¬O1cm¡Cm¤§«eªºcµ¥©ó¦Ê¤À¤§¤@¡C¦p¦¹¡A¾A¦X¤p«Äªº¦çªA·|¼Ð»x¡u¨°ª90cm¡v¡B¾A¦X¦¨¤Hªºªø¿Ç·|¼Ð»x¡u¸y³ò88cm¡vµ¥µ¥¡C
¨®½ø¦æ¨«ªº¶ZÂ÷¤Óªø¤F¡Aªí¥Ü³o¨Ç¶ZÂ÷«K¨Ï¥Î¤½¤Øªº¤@¤d¿¡A¤@¤d¤½¤Ø¤]ºÙ¤@¤½¨½¡A¼g¦¨1Km¡A¤õ¨®±q¬õꩯ¸¦Üù´ò¯¸n¦æ¨«35Km¡C¾÷¾¹¦]¬°n¨Ï¥Îºë±Kªº¹s¥ó¡A¹s¥óªº¤Ø¤o¥Î¤d¤À¤§¤@¤½¤Ø§@¬°¶q«×³æ¦ì¡A¤d¤À¤§¤@¤½¤Ø¤SºÙ²@¦Ì¡A¥N¸¹¬Omm¡BÁ³µ·°vªº¤Ø¤o¬O8mm¼20mmªø¡B¤ôÀsÀYªº¤Ø¤o¬O10mm(¾A¦X10mmªº³ïºÞ)µ¥µ¥¡C
»s³yºë±K¾÷¾¹¹s¥óªº¼Æ±±¾÷§É(Numerical Controlled Machine¤]ºÙ¢Ü¢Ñ¾÷§É)ªº±À¶i¬O¥H¦Ê¸U¤À¤§¤@¤½¤Ø¬°¶q«×³æ¦ì¡A¥N¸¹¬O£gm(¤]ºÙ·L¦Ì)¡C1£gm¥u¦³¤d¤À¤§¤@²@¦Ì(mm)¡C
«¶qªº¶q«×
¾÷¾¹¦³«¶q¡A²¾°Ê¥¦®É¦pªG¤£¤p¤ß·|µ¹¥¦À£¶Ë¡C¾÷¾¹ªº«¶q¤j·§¬O¨â¦Ê¸U§J¥ª¥k¡C¦Ê¸U§J¤]ºÙ¤½¾·¡A¨â¦Ê¸U§J¼g¦¨2 Mg¡C¤â´£¹q¸£(Notebook Computer)ªº«¶q¬O¤@¤d¦Ü¤G¤d§J¡A¬°¤F¤è«K¡A§Ú̧â¤@¤d§J¼g¦¨1 Kg¡A¤d§J¤]ºÙ¤½¤ç¡C
¡u¾÷¾¹¹s¥ó¡v¤Î¡u¹q¤l¹s¥ó¡v¬Û·í»´¡A§Ú̳q±`¥Î§J¨Óªí¥Ü¤@¥ó¡u¹s¥ó¡vªº«¶q¡A§Jªº¥N¸¹¬Og¡C°ê»Ú¤½q¦b1 ¤j®ðÀ£¤O¤U©M·Å«×¦bÄá¤ó4 «×®É1 ¥ß¤èÍù¦Ìªº¤ôªº½è¶q¬O 1 §J¡C
°ê»Ú³æ¦ì¨î¡]S.I. Units¡^
°ê»Ú³æ¦ì¨î¬O¤@Óºî¦X©M¹ê¥Îªºp¶q³æ¦ì¨î¡A¥Î¥Hp¶q§Þ³N¡B¬ì¾Ç¤Î¤@¯ë¥Î³~ªºª«²z¶q¡A¨CºØª«²z¶qªºp¶q³æ¦ì§¡¥Ñ¤@Ó©Î¥H¤Wªº°ò¥»³æ¦ì²Õ¦¨©Î¾É¥X¡C
¤CÓ°ò¥»³æ¦ì¬O:
1.¦Ì 2.¤d§J 3.¬í 4.¦w°ö
5.¶}º¸¤å 6.§¢¼w©Ô 7.¼¯º¸
¡@
°ò¥»³æ¦ì¡]Basic Units¡^
|
¶qªº¦WºÙQuantity |
³æ¦ì¦WºÙ Unit Name |
²Å¸¹Symbol |
|
ªø«×Length |
¦ÌMetre |
m |
|
½è¶qMass |
¤d§JKilogram |
Kg |
|
®É¶¡Time |
’Second |
s |
|
¹q¬yElectric Current |
¦w°öAmpere |
A |
|
¼ö¤O¾Ç·Å«× Thermodynamic Temperature |
¶}º¸¤åKelvin |
K |
|
µo¥ú±j«×Luminous Intensity |
§¢¼w©ÔCandela |
cd |
|
ª«½èªº¶qAmount of Substance |
¼¯º¸Mole |
mol |
¸É¥R³æ¦ì¡]Supplementary Units¡^
|
¶qªº¦WºÙQuantity |
³æ¦ì¦WºÙUnit Name |
²Å¸¹Symbol |
|
¥±¨¤Plane Angle |
©·«×Radian |
rad |
|
¥ßÅ騤Solid Angle |
²y±«×Steradian |
sr |
¡@
¾É¥X³æ¦ì¡]Derived Units¡^
|
¶qªº¦WºÙQuantity |
³æ¦ì¦WºÙUnit Name |
²Å¸¹Symbol |
|
±¿nArea |
¥¤è¦ÌSquare Metre |
m2 |
|
Åé¿nVolume |
¥ß¤è¦ÌCubic Metre |
m3 |
|
³t«×Velocity |
¦Ì/¬íMetre/Second |
m/s |
|
¨¤³t«×Angular Velocity |
©·«×/¬íRadian/Second |
rad/s |
|
±K«×Density |
¤d§J/¥ß¤è¦ÌKilogram/Cu Metre |
Kg/m3 |
|
¤OForce |
¤û¹yNewton |
N |
|
¤O¯x Moment of Force |
¤û¹y¦ÌNewton Metre |
Nm |
|
¯à¥\ Energy work ¼ö¶q Quantity of heat |
µJ¦ÕJoule |
J |
|
¼ö®e¶q Heat Capacity |
µJ¦Õ/¶}º¸¤åJoule/Kelvin |
J/K |
|
¤ñ¼ö®e¶q Specific Heat Capacity |
µJ¦Õ/¤d§J/¶}º¸¤åJoule/Kilogram/Kelvin |
J/Kg/K |
¡@
«D°ê»Ú³æ¦ì¨î³æ¦ì
¥Ñ©ó¹ê¥Î»ùȤαMªù¬ì§Þ¤è±ªº±Ä¥Î¡A¤@³¡¥÷«D°ê»Ú³æ¦ì¨îªº³æ¦ì²{¤´«O¯d¨Ï¥Î¡C
|
¶q |
³æ¦ì¦WºÙ |
²Å¸¹ |
©w¸q |
°ê»Ú³æ¦ì¨îªº¼ÆÈ |
|
®É¶¡ Time |
¤ÀMinute ¤p®ÉHour |
min hr |
1¤À=60¬í 1¤p®É=3600¬í |
60’ 3600’ |
|
½è¶q Mass |
¤½¾·Tonne |
t |
1¤½¾·=1000¤d§J |
1000¤d§J |
|
®e¿n Volume |
¤ÉLitre |
L |
1¤É=1¥ß¤è¤À¦Ì |
0.001¥ß¤è¦Ì |
|
±¿n Area |
¤½³¼Hectare |
ha |
1¤½³¼=10000¥¤è¦Ì |
10000¥¤è¦Ì |
|
À£¤O Pressure |
¤ÚBar |
bar |
1¤Ú=100000©¬´µ¥d |
|
|
·Å«× Temp |
Äá¤óCelsius |
¢J |
Äá¤ó0«×=¶}º¸¤å273K |
|
|
ªø«× Length |
°ê»Ú®ü¨½ Nautical Mile |
knot |
1®ü¨½=1852.4¦Ì |
1852¦Ì |
|
¹q¯à Electrical Energy |
¤d¥Ë¯S¤p®É Kilowatt Hour |
Kwh |
1Kwh=®a®x¥Î¹qªº¤@«×¹q |
3.6¥üµJ¦Õ |
¡@
|
³æ¦ìªº¿¼¦]¼Æ Factor by which the unit is multiplied |
«e¸m²Å¸¹ Prefix |
²Å¸¹ Symbol |
|
1000000000 = 109 |
¿EGiga |
G |
|
1000000 = 106 |
¥üMega |
M |
|
1000 = 103 |
¤dKilo |
K |
|
100 = 102 |
¦ÊHecto |
H |
|
10 = 101 |
¤QDeca |
da |
|
0.1 = 10-1 |
¤ÀDeci |
d |
|
0.01 = 10-2 |
ÍùCenti |
c |
|
0.001 = 10-3 |
²@Milli |
m |
|
0.000001 = 10-6 |
·LMicro |
£g |
·Å²ß1¡G
1-1. ½è¶q
1000·L§J = 1²@§J
1000²@§J = 1§J
1000§J = 1¤d§J
1000¤d§J = 1¥ü§J
1000¤d§J = 1¤½¾·
1-2. ªø«×
1000·L¦Ì = 1²@¦Ì
10²@¦Ì = 1Íù¦Ì
10Íù¦Ì = 1¤À¦Ì
1000²@¦Ì = 1¦Ì
1000¦Ì = 1¤d¦Ì
¡@
1-3. ±¿n
100¥¤è²@¦Ì = 1¥¤èÍù¦Ì
10000¥¤èÍù¦Ì = 1¥¤è¦Ì
10000¥¤è¦Ì = 1¤½³¼
100¤½³¼ = 1¥¤è¤d¦Ì
1-4. Åé¿n
1000¥ß¤èÍù¦Ì = 1¥ß¤è¤À¦Ì
1000¥ß¤èÍù¦Ì = 1¤É
1000¥ß¤è¤À¦Ì = 1¥ß¤è¦Ì
1000¥ß¤è¤À¦Ì = 1¤d¤É
1-5. ®e¿n
1¥ß¤èÍù¦Ì = 1²@¤É
1000²@¤É = 1¤É
1000¤É = 1¤d¤É
1000¤É = 1¥ß¤è¦Ì
1-6. °ê»Ú³æ¦ì¨î¤¤ªº¤CÓ°ò¥»³æ¦ì¬O¡G
|
¶q |
³æ¦ì¦WºÙ |
³æ¦ì¤§²Å¸¹ |
|
ªø«× |
¦Ì |
m |
|
½è¶q |
¤d§J |
Kg |
|
®É¶¡ |
’ |
s |
|
¹q¬y |
¦w°ö |
A |
|
¼ö¤O¾Ç·Å«× |
¶}º¸¤å |
K |
|
µo¥ú±j«× |
§¢¼w©Ô |
cd |
|
ª«½èªº¥÷¤l¶q |
¼¯º¸ |
mol |
1-8. ¼g¥X¨âӸɥR³æ¦ì¥±¨¤©M¥ßÅ騤¡C
©·«× ©M ²y±«×¡C
1-9. ®e¿nªº³æ¦ì¬O¤É¡C
1-10. ·Å«×p©Ò¥Îªº³æ¦ì¬OÄá¤ó«×¼Æ¡C
1-11. ¤g¦a±¿n³æ¦ì¬O¤½³¼¡C
1-12. ®a®x¥Î¹q¯à¡A¨C¤@«×¹q§Y¬O¤@¤d¥Ë¯S¤p®É¡C
1-13. ¼g¥X¤U±«e¸m²Å¸¹©Ò¥Nªí¤§¼ÆÈ¡G
¡@
|
²Å¸¹ |
¼ÆÈ |
| M |
1 000 000 |
|
m |
0.001 |
|
G |
1 000 000 000 |
| H |
100 |
|
£g |
0.000 001 |
|
k |
1 000 |
¡@
·Å²ß2¡G
2-1. Complete the following table:
|
Prefix and Symbol |
Value |
Factor |
|
Giga (G) |
1000000000 |
109 |
|
Mega (M) |
1000000 |
106 |
|
Kilo (K) |
1000 |
103 |
|
Hecto (H) |
100 |
102 |
|
Deci (d) |
0.1 |
10-1 |
|
Centi (c) |
0.01 |
10-2 |
|
Milli (m) |
0.001 |
10-3 |
|
Micro (£g) |
0.000001 |
10-6 |
2-2.
0.4 m = 0.4 ¡Ñ 100 cm = 40 cm
= 0.4 ¡Ñ 1000 mm = 400 mm
2-3.
0.4 m2 = 0.4 ¡Ñ 100 ¡Ñ 100 cm2 = 4000 cm2
= 0.4 ¡Ñ 1000 ¡Ñ 1000 mm2 = 400 000 mm2
2-4.
0.4 m3 = 0.4 ¡Ñ 100 ¡Ñ 100 ¡Ñ 100 cm3 = 400 000 cm3
= 0.4 ¡Ñ 1000 ¡Ñ 1000 ¡Ñ 1000 mm3 = 400 000 000 mm3
¡@
2-5.
450 mm = 450 ¡Ò 10 cm = 45 cm
= 450 ¡Ò 1000 m = 0.45 m
2-6.
137 cm = 137 ¡Ò 100 m = 1.37 m
= 137 ¡Ñ 10 mm = 1370 mm
2-7.
7260 cm2 = 7260 ¡Ñ 10 ¡Ñ 10 mm2 = 726 000 mm2
= 7260 ¡Ò 100 ¡Ò 100 m2 = 0.726 m2
2-8.
7260 cm3 = 7260 ¡Ò 100 ¡Ò 100 ¡Ò 100 m3= 0.00726 m3
= 7260 ¡Ñ 10 ¡Ñ 10 ¡Ñ 10 mm3 =7 260 000 mm3
¡@
²ßÃD1¡G
1-1. Ãľ¯p¶q¨Ï¥Îmg¡C¤@¤½¤ç©Mmg¦p¦ó¤ñ¸û¡H
1-2. ¹q¸£ªººÏºÐ¾÷³W®æ¦³GBªº¦r¥y¡C1 GB¬O¬Æ»ò·N¸q¡H
1-3. ©Û¸u¼s§iÁnºÙ¬Y¾¦ìªº¤ëÁ~¬O18K¡C18K·|¬O¬Æ»ò·N¸q¡H
1-4. ¹q¼tªº¤@Óµo¹q¾÷²Õªºµo¹q¯à¤O¬O500MW¡AW¬O¥\²v³æ¦ì¡A¤¤¤å¦WºÙ¬O¥Ë¯S¡A°Ý¡§500MW¡¨¤@µü¦p¦óͦ¨¤¤¤å¥y¤l¡H[´£¥Ü¡G¤¡O¡O¡O¡O¥Ë¯S]
¡@
±¿n(Area)
pºâ¤½¦¡¡G
1. ªø¤è§Î Area of rectangle = ªø ¡Ñ Áï
2. ¥¿¤è§Î Area of square = ¤@Ãä¦Û¼
3. ¶ê§Î±¿nArea of circle = £k ¡Ñ ¥b®|2
4. Àô§Î±¿nArea of ring = £k ¡Ñ (R2 - r2)
5.
¤T¨¤§Î±¿nArea
of triangle = 
6. ±è§Î±¿nArea of
trapezium = 
7. ¥¦æ¥|Ãä§Î±¿nArea of parallelogram = ©³ ¡Ñ °ª
·Å²ß3¡G
¨D¤U¦C¦U¹Ï·t±±¿n¡]³æ¦ìmm¡^¡G

3-1.
Area of shadow = (56 ¡Ñ 56) -
£k(56)
2
= 673 mm2
¡@

3-2.Area of shadow = (60 ¡Ñ 28) - [60 ¡Ñ (28 - 7 - 7)] + [£k¡Ñ
(14) 2 -£k¡Ñ(14 - 7) 2]
= 1302 mm2

3-3.Area of shadow = £k(210) 2 - (150 ¡Ñ 150)
= 116044 mm2

3-4.Area
of shadow= [(390 ¡Ñ 500) - (120 ¡Ñ 100) - (120 ¡Ñ 360)] + [
- £k(105)2 ]
= 203339 mm2
¡@

3-5.Area of shadow = (380 ¡Ñ 200) - [(160 ¡Ñ 140) + £k(70) 2 ]
= 38206 mm2

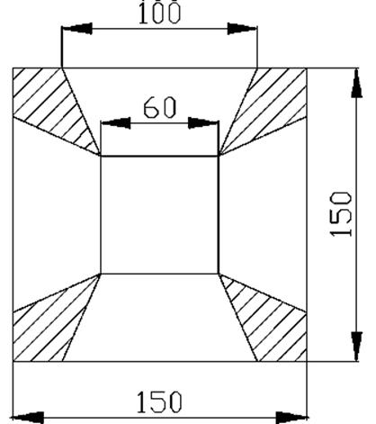
3-6.Area of shadow
= (150 ¡Ñ 150) - [
¡Ñ 4 + (60 ¡Ñ 60)]
= 4500 mm2
¡@
²ßÃD2¡G
2-1. ¤@¥¤Ãþ¶¼«~¥Hªø¤è²°ªº§Î¦¡°â½æ¡A¤Ø¤o¬O75mm¥¿¤è¤Î195mm°ª¡A°²¦p¤£²z·|¯Èªº«p¡A°Ýªø¤è²°ªº®e¿n¬OY¤z¡H¸Ó¶¼«~¼Ð¥Ü®e¶q¬°1000ml¡A°Ý¼Ð¥Ü®e¶q¬O¹ê»Ú®e¶qªº¦Ê¤À¤§´X¡H¤S³oªø¤è²°n¥Î´X¤j±¿nªº¯È³y¦¨¡H
2-2. ¿û´ÎªººI±¬O¥¿¤è§Î¡A¨CÃäªø32mm¡A°Ý1mªøªº¿û´ÎªºÅé¿n¬OY¤z¥ß¤è¤½¤Ø¡H
2-3. ¿ûªOªºªø¡BÁï¡B°ª¤À§O¬O600mm¡B450mm¤Î25mm¡A°Ý¿ûªOªºÅé¿n¬OY¤z¥ß¤è¤½¤Ø¡H¤S³ÌÁ諸±ªº±¿n¬OY¤z¥¤è¤½¤Ø¡H
2-4. ¶°¸Ë½cªº¤º®Ø¤Ø¤o¬O1.8m x 2m x 10m¡A°Ý¥i¥Îªº®e¿n¬OY¤z¥ß¤è¤½¤Ø¡H
2-5. ´åªa¦Àªºªø©MÁï¤À§O¬O50m ©M10m¡Aªø«×¦³¤Q¤À¤§¤@ªº¤ô²`¬O1.3m¡A¦Ó¨ä¥L¦a¤èªº¤ô²`¬O2m¡A°Ý¦À¤¤¦³¤ôY¤z¥ß¤è¤½¤Ø¡H°²¦p¦Àªºªí±¥Î100mm¥¿¤èªº¿j¥ËÂл\¡A°Ý³Ì¤Ön¥Î¦h¤Ö¶ô¡H
¡@
Åé¿n¡]Volume¡^¡G
pºâ¤½¦¡¡G
1. ªø¤è§Î¬WÅéÅé¿n = ªø ¡Ñ Áï ¡Ñ °ª
2. ¥ß¤èÅéÅé¿n = Ãäªø3
3. ¶ê¬WÅéÅé¿n = ¶ê§Î¾îºI±±¿n ¡Ñ °ª«×¡]©Îªø«×¡^
= £k ¡Ñ ¥b®|2 ¡Ñ l
4. ³W«h¾îºI±ªº¬WÅé = ¾îºI±±¿n ¡Ñ ªø«×
·Å²ß4¡G

4-1.
Volume =
= 658508 mm3

4-2.Volume = (76 ¡Ñ 108 ¡Ñ 16) + (83 ¡Ñ 32 ¡Ñ 13) +
[(70 - 13) ¡Ñ 54 ¡Ñ 32]
= 264352 mm3

4-3.Volume
=£k(322 - 252) ¡Ñ
¡Ñ 95
= 39694 mm3

4-4.Volume
= (260 ¡Ñ 860 ¡Ñ 100) +
= 39130000 mm3
¡@
¥¿À@Åé¡B¶êÀ@Åé¤Î²yÅé¡G
¥¿À@ÅéÅé¿nVolume
of right pyramid =
©³±¿n ¡Ñ °ª
¶êÀ@ÅéÅé¿nVolume
of cone =
£kr2 ¡Ñ °ª
=
£kr2h
²yÅ骺Åé¿nVolume
of a sphere =
£kr3
·Å²ß5¡G
5-1.¨D¶êÀ@Å骺Åé¿n¡A©³¥b®| = 3 cm¡A±×Ãä = 5 cm¡H
Volume of cone
=
£k(3)2 ¡Ñ 4
= 38 cm3
5-2.¿û²yªº¥b®|¬°2 cm¡A¨D¥¦ªºÅé¿n¡H
Volume of a
sphere =
£k(2)3
= 34 cm3
5-3.²yÅ骺Åé¿n¬O8¥ß¤èÍù¦Ì¡A¨D¥¦ªº¥b®|¬O¦h¤Ö¡H
Volume of a sphere = 8 cm3
£kr3 = 8
£kr3 = 6
r = 1.24cm
¡@
5-4.
¦³¤@ÅK²y¡Aª½®|¬°9 cm¡A³Qº²¸Ñ¥H»s³yÅK½u¡A¸ÓÅK½u¦³1/2 kmªø¡A¨D¸ÓÅK½u¾î¤Á±ªºª½®|¡H
ÅK²yÅé¿n =
£kr3 cm3 = ¾î¤Á±¿n ¡Ñªø«×
£k(4.5)3 =£kr2 ¡Ñ 
121.5 = 50000 r2
r2 = 0.00243
r = 0.049cm
D = 0.049 ¡Ñ 2
= 0.098 cm
¡@
5-5. ¨DÅé¿n¡H


¡@
¡@
¡@
Volume =
= 20944 mm3
5-6. ¨DÅé¿n¡H

Volume =
= 4581.49 cm3
¡@
²ßÃD3¡G
3-1. ¿û´ÎªººI±¬O¶ê§Î¡Aª½®|32mm¡A°Ý2mªøªº¿û´ÎªºÅé¿n¬OY¤z¥ß¤è¤½¤Ø¡H
3-2. ¶ê§Î¤ô±íªº¤ºª½®|¬O550mm¡A¶J¤ô²`800mm¡A°Ý±í¤º¦³¤ôY¤z¤½¤É¡H
3-3. ¥Î°¨¤fÅK°µªº¶ê§ÎÅøÀY¡A¨äª½®|©M°ª¤À§O¬O98mm©M40mm¡A°ÝÅK¤ù±¿n¬OY¤z¥¤è¤½¤Ø¡H
3-4. ¤£ù׿ûºÞªº¤º¡B¥~¶êª½®|¤À§O¬O28mm¤Î32mm¡A°Ý2mªøªº¿ûºÞªºÅé¿n¬OY¤z¥ß¤è¤½¤Ø¡H
3-5. ³q¤ß¿û¶b¡B¥~¶êª½®|¤À§O¬O15mm¤Î75mm¡A¶bªø800mm¡A°Ý¶bªºÅé¿n¬OY¤z¥ß¤è¤½¤Ø¡H